


ISO 5364 -Annex C Medical Test Equipment ISO 5364 Test method for patency of lumen
ISO 5364 Annex C tester verifies anesthesia mask lumen patency, ensuring unobstructed airflow and patient safety compliance.
MOQ: 1
Price: To be quoted
Standard Packaging: safety carton pack or plywood box
Delivery Period: 7 working days
Payment Method: T/T
Supply Capacity: 10 pcs per month
Products Categories
Get A Free Quote
Detail Information
| Place of Origin | China | Brand Name | Kingpo |
| Certification | ISO 17025 | Model Number | ISO 5364 Figure C.1 |
| Warranty: | 1 Year | ||
| Highlight: | medical test equipment for sale, patency of Lumen Medical Test Equipment, ISO 5364 Medical Test Equipment | ||
Product Description
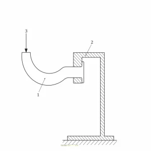
ISO 5364 Figure C.1 Test method for patency of lumen
According to the standard
ISO 5364 -Annex C
Technical parameters
Technical indicators
Force: 5N±0.5N
Steel ball diameter: 1.875 mm, 2.25 mm and 2.625 mm, 3.0 mm, 3.375 mm and 4.125 mm
